Setting up your repository
In Repository, you create structure definitions and then, within those structures, you define fields and their attributes, such as field names, sizes, headings, formats, and so forth. Then you can create file definitions and assign structures to them. You can define segmented keys for a file and indicate how your data is ordered, and then link the keys for one file with the keys of another to easily access additional related information.
To maintain consistency throughout your structures, you can create template definitions that define basic field characteristics. A template can be assigned to one or more fields or to another template. For use with UI Toolkit or ReportWriter, you can create display formats for specific fields, such as phone numbers.
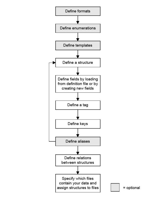
Figure 1 illustrates the steps you might follow to populate your repository. We recommend the order shown here, although you have some latitude of course. For example, as you are defining fields, you may realize a template for a particular type of field would be a useful or you might want to define aliases for structures as you go along.
|
|
- Define display formats for fields
If you know what display formats you’re going to want for frequently used field types, go ahead and define them first. Displays formats are most commonly used with Toolkit and ReportWriter. You can define global formats or formats specific to a particular structure, and then select these formats when defining display information. Follow the instructions in Defining field formats and Display information.
- Define enumerations
If you want to reference enumerations from fields, you must define them before defining fields. Follow the instructions in Defining enumerations.
- Define templates
If you’re going to define fields from scratch, you may want to define template fields for commonly used field types. Follow the instructions in Defining field templates.
- Define structures
Structures are a combination of field and key definitions, so you’ll need to define structures before defining fields. Follow the instructions in Defining a new structure.
- Define fields
If you’re working from existing record definition files, you’ll want to load your fields into Repository and then make sure all of your fields are defined as you’d like them to be. Follow the instructions in Loading fields from a definition file.
If you’re defining fields from scratch, follow the instructions in Defining a new field.
- Define tags to associate with structures
If you will assign multiple structures to a file, you’ll need to define tags to associate with your structures so that they can be distinguished one from the other. Follow the instructions in Defining tags.
- Define keys
Your next step is to define the keys to your data. Follow the instructions in Defining keys.
- Define aliases
Aliases are alternate names for structures, which can be useful when including a structure in a source file. Follow the instructions in Defining aliases.
- Define relations between structures
Once you’ve defined more than one structure, you can define relations between structures so that xfODBC and ReportWriter will be able to access additional information from other related files. Follow the instructions in Defining relations between structures.
- Define files and assign structures to them
To use xfODBC or ReportWriter, you’ll also need to specify which files contain your data and assign the structures you’ve defined to those files. Follow the instructions in Defining files and Assigning structures to files.
